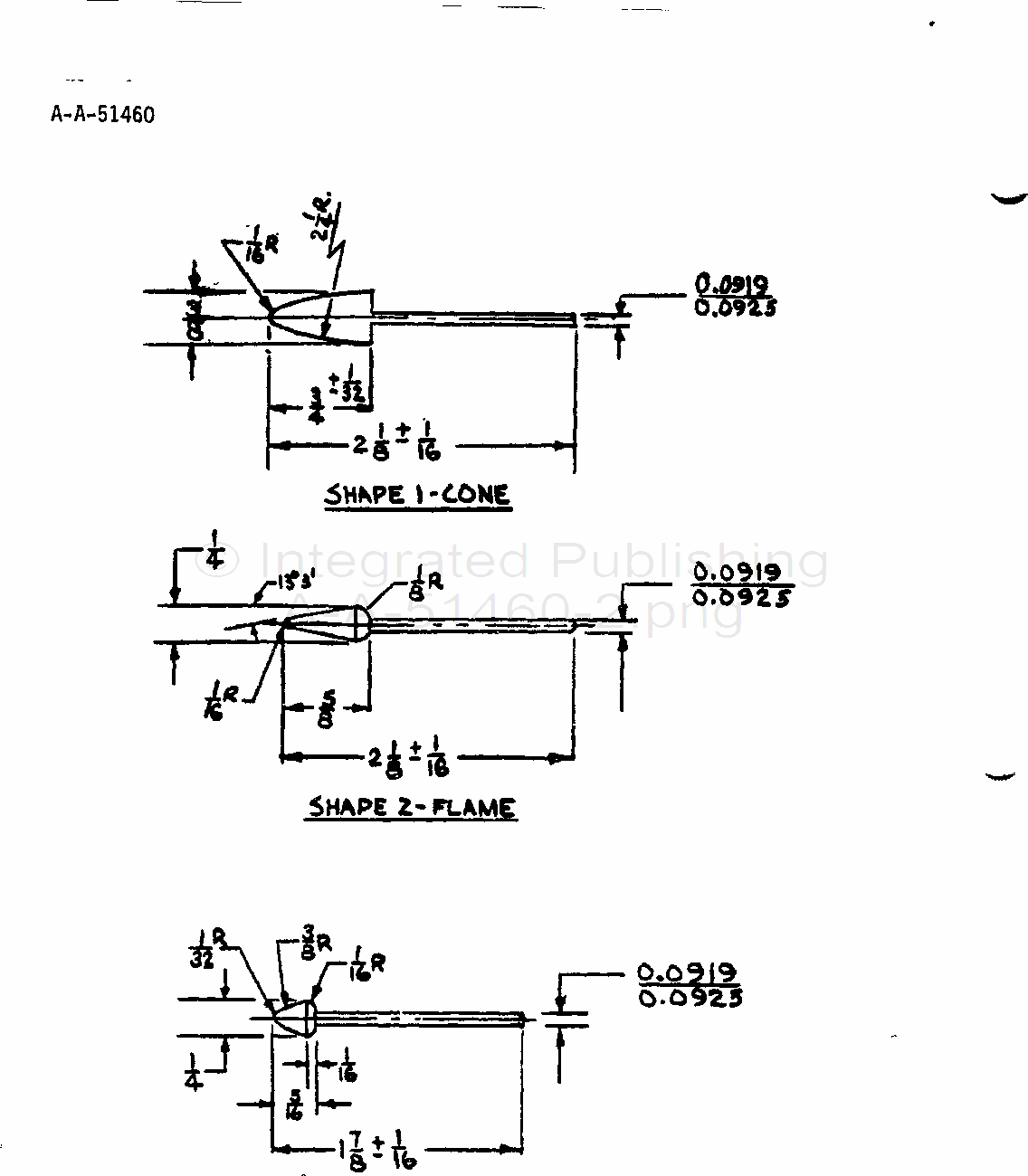
A-A-51460 Wheel, Abrasive, (Aluminum Oxide, Mandrel Mounted)This commercial item description covers three shapes of mandrel mounted abrasive wheels suitable for trimming synthetic resin denture base materials.